医疗器械在我国实行注册管理制度,以三类医疗器械产品注册管理等级最为严格。三类医疗器械注册申报周期和申报资料要求也最为长久、困难。为您简单介绍三类器械注册证办理流程周期:
三类医疗器械注册申报资料及具体要求
1、医疗器械注册申请表:医疗器械注册申请表是注册申请的重要资料之一,表内各项应符合填写说明要求。
2、医疗器械生产企业资格证明。
(1)生产企业许可证副本及营业执照副本的复印件,并加盖证书所属企业公章;
(2)所申请产品应当在生产企业许可证核定的生产范围之内;
(3)在有效期内。
3、产品技术报告:应加盖生产企业公章。
4、安全风险分析报告:应加盖生产企业公章。
5、适用的产品标准及说明:
(1)标准文本,应加盖生产企业公章;
(2)编制说明(适用于注册产品标准);
(3)申报产品应包含在产品标准范围内;
(4)采用国家标准、行业标准作为产品的适用标准的:
①生产企业应当提供所申请产品符合国家标准、行业标准的声明,并加盖生产企业公章;
②生产企业承担产品上市后的质量责任的声明,并加盖生产企业公章;
③生产企业有关产品型号、规格划分的说明,并加盖生产企业公章。
6、产品性能自测报告:
(1)应当有主检人或主检负责人、审核人签字,并加盖生产企业公章;
(2)执行国家标准、行业标准的,生产企业应当补充自定的出厂检测项目,并加盖生产企业公章。
7、医疗器械检测机构出具的产品注册检测报告:
(1)所检产品的规格型号应在本次注册申请范围内;
(2)检测类型应为注册检测或全性能国家监督抽查检测;
(3)原件;
(4)在有效期内(执行《办法》附件3第7条)。
注:执行《办法》第十一条、第十二条、第十三条的规定的,生产企业应当提供相应的说明文件,并加盖生产企业公章。
8、医疗器械临床试验资料:
(1)生产企业应当在两家以上(含两家)“医疗器械临床试验机构”进行临床试验;
(2)其临床试验资料中应当包括临床试验合同、临床试验方案、临床试验报告:
①临床试验合同应有承担临床试验的医疗机构及实施者签字并盖章;
②临床试验方案应有伦理委员会、承担临床试验的医疗机构及实施者盖章;
③临床试验报告应有临床试验负责人及临床试验人员签字并由试验主管部门盖章确认。
9、医疗器械说明书:应提供说明书并加盖生产企业公章;省略说明书的,应由生产企业出具说明文件,并加盖生产企业公章。
10、产品生产质量体系考核(认证)的有效证明文件——根据对不同产品的要求,提供相应的质量体系考核报告。
(1)省、自治区、直辖市药监管理部门签章;若为医疗器械质量体系认证证书可以提供复印件,但应加盖证书所属企业公章;
(2)在有效期内;
(3)体系涵盖申报产品。
11、所提交材料真实性的自我保证声明:
(1)所提交材料的清单;
(2)生产企业承担法律责任的承诺;
(3)加盖生产企业公章。
12、申请资料(重点是临床试验报告)和样品生产过程的真实性核查报告。
各省(区、市)食品药品监督管理部门在质量管理体系考核过程中,要对生产企业拟提交的第三类医疗器械首次注册申请资料(重点是临床试验报告)和样品生产过程的真实性组织核查。生产企业在提出体系考核申请时,应当同时递交相关资料。对承担临床试验的医疗机构不在生产企业所在省(区、市)辖区内的,生产企业所在地的省(区、市)食品药品监督管理部门可以委托承担临床试验的医疗机构所在地的省(区、市)食品药品监督管理部门组织核查,并出具核查意见。国家食品药品监督管理局根据需要对第三类医疗器械首次注册申请资料真实性的核查情况进行抽查。
三类医疗器械产品注册审评业务流程

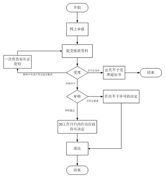
三类医疗器械注册流程图

三类医疗器械注册办理流程
1、申请:申请人向国家食品药品监督管理总局行政受理服务大厅提出申请。
2、受理:受理人员根据申报事项按照相关法律法规的要求对申报资料进行形式审查。申请事项属于本部门职权范围,申报资料齐全、符合形式审查要求的,予以受理;申报资料存在可以当场更正的错误的,允许申请人当场更正;申报资料不齐全或者不符合形式审查要求的,在5个工作日内一次告知申请人需要补正的全部内容,逾期不告知的,自收到申报资料之日起即为受理;申请事项不属于本部门职权范围的,即时告知申请人不予受理。
3、审查:受理人员自受理之日起3个工作日内将申报资料转交技术审评机构,技术审评机构应当在90个工作日内完成第三类医疗器械注册的技术审评工作。如果需要外聘专家审评或药械组合产品需与药品审评机构联合审评的,那么所需时间不计算在内,技术审评机构应当将所需时间书面告知申请人。此外,质量管理体系核查的时间和申请人补充资料的时间,也不计算在审评时限内。
4、许可决定:国家食品药品监督管理总局应当在技术审评结束后20个工作日内作出决定,对符合安全、有效要求的,准予注册。对不予注册的,应当书面说明理由,并同时告知申请人享有申请复审和依法申请行政复议或者提起行政诉讼的权利。
5、送达:自作出审批决定之日起10个工作日内,总局行政事项受理服务和投诉举报中心将行政许可决定送达申请人。
三类医疗器械产品注册官方审评时限
国家食品药品监督管理总局令第4号《医疗器械注册管理办法》第三十三条:受理注册申请的食品药品监督管理部门应当自受理之日起3个工作日内将申报资料转交技术审评机构。技术审评机构应当在90个工作日内完成第三类医疗器械注册的技术审评工作。补充资料的时间不计入审查时限。
国家食品药品监督管理总局令第4号《医疗器械注册管理办法》第三十五条:申请人应当在1年内按照补正通知的要求一次提供补充资料;技术审评机构应当自收到补充资料之日起60个工作日内完成技术审评。申请人补充资料的时间不计算在审评时限内。
三类医疗器械注册客户咨询疑难解答
1、3个型号的有源产品,产品在国家局注册,只有1个EMC报告,能够受理吗?立卷审查后的受理,这样也可以,是吗?
答:你说的情况我们经历过,是可以受理的,但是发补的时候要你补检其它型号的EMC。
2、三类有源医疗器械,产品技术要求的附录要写EMC的相关内容吗?附录只需写一句电磁兼容的分组分类就行了吧?
答:二类有源是要写的,技术要求不需要的,写一条符合0505有专标写上专标条款即可。
3、三类产品注册体系核查申报资料,从哪个网站上传?是提交给省局,还是提交给国家局?
答:省局
第三类医疗器械注册证(首次注册)服务流程

第三类医疗器械注册证(首次注册)收费标准
| 主管部门 | 管理类别 | 首次注册 | 变更注册 (许可事项变更) | 延续注册 (五年一次) | 临床试验申请费 (高风险医疗器械) | 相关文件 | 实施日期 | ||
|---|---|---|---|---|---|---|---|---|---|
| 国家局 | 境内 | Ⅲ | 15.36 | 5.04 | 4.08 | 4.32 | 局令15年53号 | 2015/5/27 | |
单位:万元
第三类医疗器械注册证(首次注册)办理依据
| 文件名称 | 文号 |
|---|---|
| 《医疗器械监督管理条例》 | 680号文件 |
| 《医疗器械注册管理办法》 | 局令4号 |
| 《医疗器械生产监督管理办法》 | 局令7号 |
第三类医疗器械注册证(首次注册)服务周期
注册资料准备阶段
注册资料准备、汇编,预计20个工作日。(器械产品检测由客户自行送检)
临床阶段
如需临床预计6个月以上至1年左右,视产品情况有所变化。
申报注册阶段
申报注册全过程大概10个月(188工日,20工日/月,不计节假),体考时间(并行),不含整改、资料发补耗时。
发补时限0~12个月,考虑平均时间6个月。视产品首次申报资料情况而定。
体系考核:在受理后10工作日内申请体系考核。1个月内完成体系考核。考核及整改不通过,即退审。
体系整改:根据体系考核整改程度,分为
(a)1个月整改期,结束后继续一次审评阶段。
(b)6个月整改期,结束后进入二次审评阶段。
体系考核、体系整改时间与技术审评阶段并行。
正常周期合计
不含临床下证周期,约18个月左右。
含临床下证周期,约在18个月-36个月左右,甚至更长。
思途周期合计
不含临床周期,约14个月左右下证。
含临床周期,约在16个月-25个月左右下证。(视具体产品而定)
第三类医疗器械注册证(首次注册)相关服务
| 注册资料准备汇编服务 | 注册资料递交服务 |
| 注册资料发补整改服务 | 延伸:三类医疗器械注册证延续服务 |
| 延伸:医疗器械临床试验服务 | 延伸:GMP体系建立辅导服务(含现场辅助审核) |
售前咨询专员
